애플이 아이폰에 호흡 센서를 탑재해 사용자의 입김을 분석하는 기술을 연구 중인 것으로 나타났다.
IT매체 애플인사이더는 애플이 미국 특허청에 출원한 ‘호흡 감지 시스템을 갖춘 전자 장치’ 특허를 최근 보도했다.
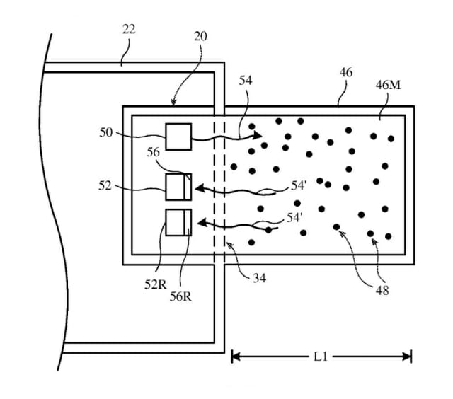
해당 기술은 다양한 기기에 적용될 수 있으나 특허 문서에 나타난 도면을 보면 아이폰 적용을 염두에 둔 것으로 보인다.
애플은 해당 기술을 스마트폰, 애플워치 뿐 아니라 자동차, 키오스크 등 거의 모든 형태의 기기에 적용 가능하다고 설명했다.
중요한 점은 호흡 센서가 별도 마우스피스 없이도 사용자의 호흡을 측정할 수 있다는 점이다. 사용자가 기기를 들고 자연스럽게 숨을 쉬는 것만으로도 건강 상태를 파악할 수 있는 충분한 데이터를 확보할 수 있다는 설명이다.
이 기술은 적외선 광원을 활용해 작동된다. 사용자의 호흡 속 특정 가스 분자를 포함한 공기를 통과한 뒤 다시 감지되는 빛을 분석하는 방식으로, 이 가스 분자는 특정 질환을 나타내는 ‘바이오마커’로 활용된다.
애플은 이를 통해 당뇨병, 고콜레스테롤 등 다양한 질환을 감지할 수 있을 것으로 보고 있다. 사용자의 호흡 데이터를 데이터베이스와 비교해 이상 징후를 파악하고, 필요 시 알림을 제공하는 방식이다. 이는 현재 애플워치의 건강 센서가 의료진 상담을 권고하는 기능과 유사하다.
관련기사
- 붓·만년필처럼 쓰는 애플펜슬 나올까2026.03.13
- 삼성, 전면 스크린 두 개 갖춘 폴더블폰 내놓나2026.03.06
- 애플, 터치스크린으로 앞뒤 감싼 아이폰 만드나2025.04.23
- 애플, 자가치유 화면 갖춘 폴더블폰 내놓을까2024.05.22
이와 함께 애플은 추가 센서를 활용한 정밀 측정 가능성도 제시했다. 특허 문서에는 가시광선 카메라나 적외선 심도 센서를 통해 사용자의 얼굴 이미지를 인식하고, 호흡 센서와의 거리를 측정하는 기술이 포함됐다. 이를 통해 사용자가 적절한 거리에서 호흡을 측정할 수 있도록 안내할 수 있다는 설명이다.
한편 팀 쿡 애플 최고경영자(CEO)는 지난 2019년 인터뷰에서 “헬스케어 분야가 인류에 대한 애플의 최대 공헌이 될 것”이라고 밝힌 바 있어, 애플의 건강 부문 관련 기술 개발에 더욱 관심이 쏠리고 있다.











