애플이 애플펜슬의 필기감을 만년필이나 붓처럼 바꿀 수 있는 기술을 연구하고 있는 것으로 나타났다.
IT매체 애플인사이더는 애플이 ‘조절 가능한 기능을 갖춘 스타일러스’라는 이름의 특허를 출원했다고 최근 보도했다. 해당 특허는 애플펜슬이 만년필이나 붓과 같은 다양한 필기 도구의 감각을 구현할 수 있도록 하는 기술을 담고 있다.
미국 특허청에 등록된 특허 문서에 따르면 애플은 스타일러스의 일부, 특히 펜촉의 크기와 모양을 사용자의 필요에 따라 사용 중에도 변경할 수 있도록 하는 방안을 제시했다. 이를 통해 펜이나 연필, 분필, 마커, 붓 등 다양한 필기 도구의 특성을 모방할 수 있다는 설명이다.
이 특허는 애플펜슬이 사용 목적에 따라 서로 다른 촉감과 필기감을 제공하도록 하는 데 초점을 맞추고 있다. 애플펜슬의 물리적 특성을 변화시켜 사용자의 작업 방식에 맞게 적응하도록 하는 개념이다. 애플은 “이러한 특성에는 모양, 강성, 유연성, 마찰 등이 포함될 수 있다”며 “붓의 브러시 털 구조, 무게 중심, 회전 관성 모멘트와 같은 다른 특성도 필요에 따라 조정할 수 있다”고 설명했다.
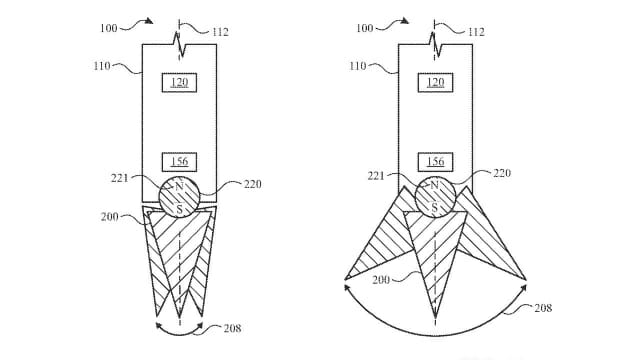
특허 문서에는 애플펜슬 내부 구조의 물리적 변화를 보여주는 여러 도면도 포함됐다. 일부 도면에는 볼펜의 볼과 유사한 구조가 등장하는데, 무게감을 시뮬레이션하기 위해 볼이 한쪽으로 이동할 수 있도록 설계된 모습이 확인된다. 또한 펜촉의 크기와 형태가 변하거나 끝 부분이 여러 갈래로 갈라지는 구조도 제시됐다. 이는 애플펜슬을 붓처럼 사용할 수 있는 가능성을 시사한다.
관련기사
- 애플펜슬, TV 안테나 역할도 할까2024.09.28
- 차세대 애플펜슬, 충전 안 해도 사용 가능?2024.04.13
- "6분 만에 분해"…맥북 네오, 역대 맥북 중 수리 가장 수월2026.03.13
- "폴더블 아이폰, 예상보다 비싸…아이폰17 프로 맥스의 2배"2026.03.13
이와 함께 펜 끝을 물리적으로 교체하는 방식뿐 아니라, 자기장에 반응해 점도가 달라지는 물질을 활용해 촉감을 변화시키는 기술도 제안됐다.
애플인사이더는 이번 특허가 애플이 지금까지 진행해 온 애플펜슬 관련 연구 가운데 가장 광범위한 개념 중 하나라며, 실제 제품으로 구현될 경우 애플펜슬의 활용도를 크게 확장하는 계기가 될 수 있을 것이라고 평가했다.











