애플이 최근 뇌파(EEG) 데이터에서도 뇌 전기 활동 구조를 학습할 수 있는 인공지능(AI) 모델을 개발했다. 이에 따라 에어팟이 사용자의 뇌 신호를 읽을 수 있는 시대가 올 수 있다는 기대감이 커지고 있다고 IT매체 나인투파이브맥이 최근 보도했다.
애플은 지난달 14일(현지시간) 논문 사전공개사이트 ‘아카이브(arXiv)’에 ‘쌍별 상대 이동 사전학습을 활용한 EEG(뇌파) 신호의 상대적 구성 학습’이라는 제목의 논문을 공개했다. 이 논문에서 애플은 EEG 데이터를 인간의 주석 없이 학습할 수 있는 ‘PARS(PAirwise Relative Shift)’ 사전학습 방식을 소개했다.
일반적으로 EEG 분석은 수면 단계나 발작 여부 등 특정 구간을 의료 전문가가 직접 선별하고 주석을 달아 학습 데이터를 만드는 방식을 사용한다. 그러나 애플은 이러한 방식이 고비용·저효율이라는 점을 지적하며, 전문가의 도움 없이 원시 EEG 데이터의 각 구간 사이 시간적 이동을 예측하는 방식으로 스스로 학습하는 모델인 PARS를 개발했다고 밝혔다.
PARS는 작은 뇌파 신호 조각들이 시간적으로 어떻게 연결되는지 스스로 예측하는 자가학습 방식구조를 갖는다. 이 방식은 수면 단계 분류부터 발작 탐지까지 다양한 EEG 분석 작업에 활용될 수 있으며, 실제 실험에서 PARS로 사전 학습한 모델은 4개의 EEG 벤치마크 가운데 3개에서 기존 모델보다 우수하거나 동등한 성능을 보였다.
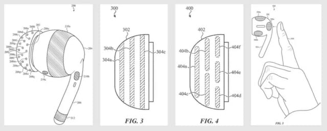
더 관심을 끄는 점은 애플이 2023년 출원한 "사용자의 생체 신호를 측정하는 웨어러블 전자 기기" 특허다. 해당 특허에서는 귀-EEG 장치를 언급돼 있는데, 귀를 통해 측정한 EEG가 두피 EEG의 대안이 될 수 있다는 점과 함께 전극 배치나 신호 품질과 같은 기술적 한계를 지적하며 이를 개선해야 한다고 지적했다.
이를 해결하기 위해 애플은 에어팟 이어 팁에 더 많은 센서를 배치하는 방식, AI가 임피던스, 노이즈, 피부 접촉 상태, 전극 간 거리 등을 평가해 최적 전극을 자동으로 선택하고, 여러 신호에 가중치를 부여해 하나의 파형으로 결합하는 방식 등을 제안했다.
관련기사
- 차기 에어팟 프로 확 바뀐다…3가지 변화는?2025.11.11
- "에어팟 프로3에서 이상한 소리 나요"2025.10.30
- "뇌파로 아이폰 제어"…애플, 아이폰에 마인드 컨트롤 기능 추가2025.05.14
- 뇌파 읽어주는 문신 나왔다…"두피에 잉크 발라 뇌파 측정"2024.12.04
물론, 이번 논문은 에어팟을 언급하지 않았고 2023년 애플 특허와도 관련이 없다. 이 연구는 레이블이 지정되지 않은 EEG 데이터에서 EEG 사이의 시간 간격을 예측하도록 스스로 학습할 수 있는지, 데이터 세트의 일부로 귀-EEG 신호를 활용할 수 있는지를 확인하는데 목적을 두고 있다.
그럼에도 불구하고, 애플이 데이터를 수집하는 하드웨어와 데이터를 해석하는 AI 모델을 동시에 탐구하고 있다는 점은 눈여겨볼 만하다고 해당 매체는 전했다. 또, 이 기술들이 실제 제품으로 이어질지는 아직 알 수 없지만, 애플의 웨어러블 생체 신호 연구가 빠르게 확장되고 있다는 사실은 분명하다고 덧붙였다.











